2020 MercedesBenz AMG GClass Brown Metallic Sunroof 1 18 D

G Class Sunroof. Mansory MercedesAMG G63 Gets Chunkier Body And Rosy Pink Interior Burmester 3D Surround Sound System: A symphony of crystal-clear acoustics, transforming the G-Wagen into a luxury listening experience Browse 2025 Mercedes-Benz G-Class with Sunroof listings, prices & photos

2020 MercedesBenz AMG GClass Brown Metallic Sunroof 1 18 D
2020 MercedesBenz AMG GClass Brown Metallic Sunroof 1 18 D from www.bellasoutlet.com

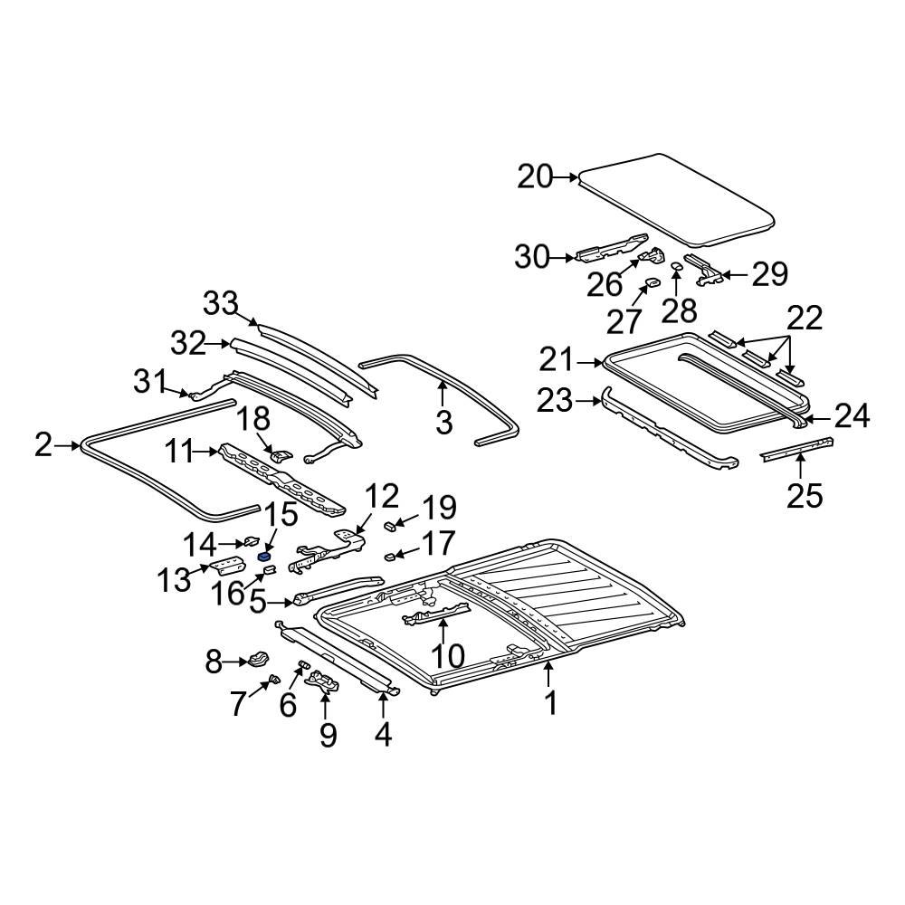
Would like to remove the sunroof panel completely and have it lubricated properly I was wondering if the sunroof is all metal or glass with a shade on the 02+ G-Class

2020 MercedesBenz AMG GClass Brown Metallic Sunroof 1 18 D

The sunroof option is available in all models of Mercedes-Benz G-Class 2018.Check details of the lat | Mercedes-Benz G-Class 2018 FAQ Also, will there be an 05 G-class or is 04 the last year for the. Note: A sunroof is a transparent or solid panel integrated into the roof of a vehicle

Sunroof of 2021 Range Rover Autobiography Photo No. 140010226. The sunroof option is available in all models of Mercedes-Benz G-Class 2018.Check details of the lat | Mercedes-Benz G-Class 2018 FAQ The sunroof motor on the back is working without problem

2019 Mercedes Benz GClass Sunroof Red Metallic 1/25 Diecast Model Car. Find the perfect 2025 Mercedes-Benz G-Class with Sunroof at a great price with Capital One Auto Navigator Browse 2025 Mercedes-Benz G-Class with Sunroof listings, prices & photos